Ведомство по патентам и товарным знакам США (USPTO) опубликовало очередную заявку на регистрацию изобретения, автором которого заявлена Apple. Как следует из описания в документе, опубликованном на сайте ведомства, речь идёт о проекте нового компьютера iMac.
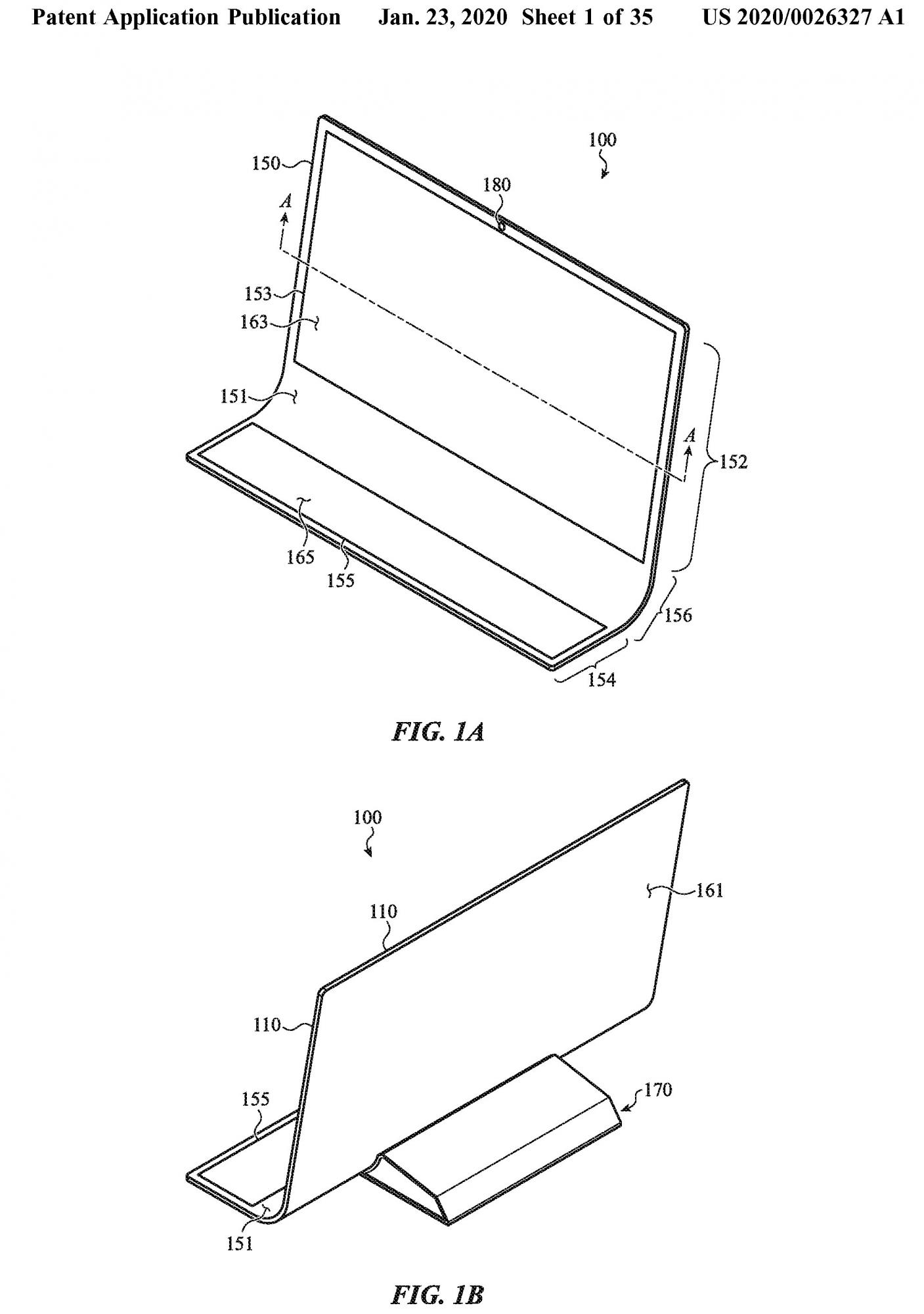
Ключевой особенностью новинки является конструкция. Настольный компьютер представляет собой монолитный кусок стекла, изгибающийся в нижней части. Экран плавно переходит в блок, где размещены клавиатура и тачпад, причём на одной из страниц патента представлен аналогичный элемент, но без встроенной клавиатуры — ожидается, что такое решение может быть реализовано в фирменной док-станции для ноутбуков Apple. Вертикальный элемент позади экрана должен выполнять одновременно и роль подставки, и роль корпуса для размещения необходимых компонентов iMac.
Согласно патентным документам, Apple планирует оснастить такой компьютер системой регулировки угла наклона экрана и даже полного закрытия устройства для его перевода в режим сна. О том, когда может появиться инновационный Mac — информации нет. Не исключено, что его не появится вовсе, поскольку для крупных компаний в порядке вещей защищать патентами свои перспективные идеи и разработки даже без конкретных планов по их воплощению.
