Компания Samsung подала патентную заявку на смартфон с раздвижным экраном. Предполагается, что основная часть гибкого экрана зафиксирована на передней поверхности смартфона, а оставшиеся части будут свернуты в боковых гранях как свиток. Если пользователю понадобится большая площадь экрана, он может потянуть за боковые грани и развернуть скрытые части экрана, сообщает Android Police.
Смартфоны удобны своими размерами и универсальностью, но для некоторых задач (просмотр видео или работа с текстом) лучше подходят планшеты с гораздо большим экраном. Поскольку носить с собой два устройства неудобно, многие производители стали создавать большие смартфоны с промежуточным размером экрана около 5,5-6 дюймов. Но из-за увеличенного экрана их не так удобно держать в руке, поэтому некоторые разработчики выбрали другой подход. К примеру, Lenovo показала в 2016 году прототип смартфона-планшета с гибким экраном, который можно складывать пополам, а компания ZTE недавно выпустила похожий по концепции серийный складной смартфон, но в нем используются два отдельных экрана.
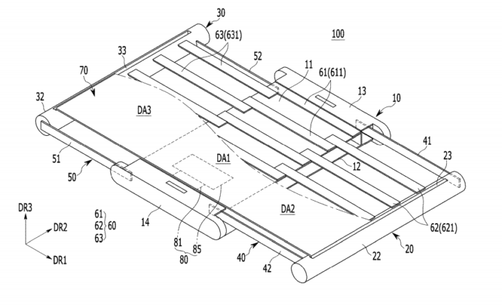
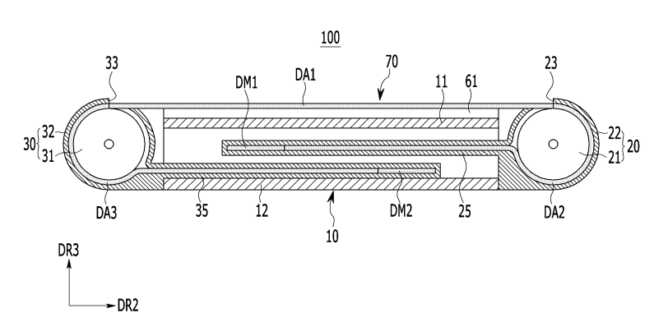
Инженеры из Samsung выбрали еще более необычный подход и предложили оснастить смартфон раздвижным экраном. Они подалипатентную заявку, в которой описывается такое устройство. Смартфон-свиток состоит из основной части корпуса, на котором закреплена центральная секция экрана и двух боковых граней с полостью, в которую сворачиваются части экрана.
Изначально смартфон имеет обычные для таких устройств размеры. Если пользователю понадобится больший экран, например, для просмотра фильмов или игр, он может потянуть за боковые грани, из которых развернется скрытая часть экрана. Для этого под экраном предусмотрен слайдерный механизм с несколькими направляющими рейками.
Пока эта концепция оформлена в виде еще не одобренной патентной заявки и может никогда не воплотиться в серийном устройстве, как и многие другие патенты Samsung на складные смартфоны. Тем не менее, стоит отметить, что помимо патентов у компании есть работающие прототипы гибких и даже растягиваемых во все стороны экранов, которые она представляла на протяжении последних лет. А осенью 2017 года один из руководителей Samsung заявил, что компания планирует выпустить смартфон линейки Galaxy Note со складным экраном в 2018 году, но не уточнил, какую именно конструкцию устройства выбрали инженеры.


