Американская компания Apple запатентовала складной смартфон, сообщает Newsweek со ссылкой на соответствующий документ из Бюро по патентам и торговым маркам США.
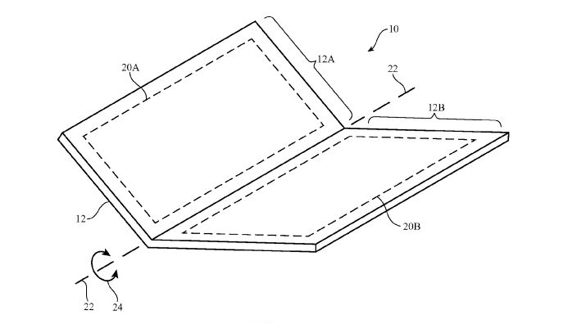
В патенте описывается концепция, согласно которой iPhone может складываться пополам за счет использования углеродных нанотрубок.
Как отмечает издание, Apple занимается концепцией складных и гнущихся смартфонов с 2013 года. Это не единственная компания, которую интересуют подобные идеи: к примеру, Samsung подает десятки патентов, связанных с такой технологией.
Станет ли хоть один из данных проектов реальностью, пока неизвестно, но продолжающийся интерес к подобным концепциям позволяет предположить, что компании всерьез намерены хотя бы попытаться реализовать нечто подобное, говорится в материале.
